<optgroup id="6eq8g"><div id="6eq8g"></div></optgroup>
<noscript id="6eq8g"><small id="6eq8g"></small></noscript>
<center id="6eq8g"></center>
<center id="6eq8g"></center>
<optgroup id="6eq8g"></optgroup>
<optgroup id="6eq8g"><div id="6eq8g"></div></optgroup>

【5月更新】358城市-公眾環境關注度:百度搜索、資訊、媒體指數(2011-2022年)

會員限領
| 來源:百度指數

參考《中國人口·資源與環境》中吳力波(2022)的做法,在前文,團隊整理了全國各省-公眾環境關注度。本次數據中,馬克團隊繼續分享全國358個城市的"霧霾"和"環境污染"的百度指數、資訊指數、媒體指數,以衡量各城市的公眾環境關注度,希望對大家有所幫助

更新說明:

1.數據更新至2022.12.31

2.在百度指數基礎上,新增資訊指數、媒體指數

3.本版本為城市版,省份版可見全國各省-公眾環境關注度

一、數據介紹

數據名稱:公眾環境關注度-百度搜索指數

數據范圍:全國358個城市

數據年份:2011-2022年

數據樣本:358城市*4383天*2關鍵詞=3138228條

數據來源:百度指數

更新時間:2023年5月

數據整理:馬克數據網。內含日度原始、年均值、年中位數

二、參考文獻

吳力波.公眾環境關注度對企業和政府環境治理的影響[J].中國人口·資源與環境,2022,32(02):1-14.

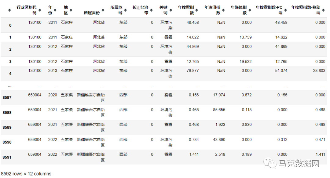
358城市-公眾環境關注度:百度搜索、資訊、媒體指數

三、數據指標

行政區劃代碼日期
地區所屬省份
所屬地域長江經濟帶
關鍵詞搜索指數
資訊指數媒體指數
搜索指數-PC端搜索指數-移動端
年搜索指數-均值年資訊指數-均值
年媒體指數-均值年搜索指數-PC端-均值
年搜索指數-移動端-均值年搜索指數-中位數
年資訊指數-中位數年媒體指數-中位數
年搜索指數-PC端-中位數年搜索指數-移動端-中位數

四、數據概覽

日度原始圖

358城市-公眾環境關注度:百度搜索、資訊、媒體指數

年度整理圖

358城市-公眾環境關注度:百度搜索、資訊、媒體指數

數據概覽

358城市-公眾環境關注度:百度搜索、資訊、媒體指數

五、獲取數據

注:該數據為社區高級會員-附贈數據

下載鏈接
需要登錄后查看 點擊登錄
gerray
馬克數據網
客服一:372574023(QQ)
客服二: macrodatas@163.com
<optgroup id="6eq8g"><div id="6eq8g"></div></optgroup>
<noscript id="6eq8g"><small id="6eq8g"></small></noscript>
<center id="6eq8g"></center>
<center id="6eq8g"></center>
<optgroup id="6eq8g"></optgroup>
<optgroup id="6eq8g"><div id="6eq8g"></div></optgroup>
啦啦啦资源在线观看视频