<optgroup id="6eq8g"><div id="6eq8g"></div></optgroup>
<noscript id="6eq8g"><small id="6eq8g"></small></noscript>
<center id="6eq8g"></center>
<center id="6eq8g"></center>
<optgroup id="6eq8g"></optgroup>
<optgroup id="6eq8g"><div id="6eq8g"></div></optgroup>

上市公司-195萬全量專利明細(1988-2021年)

會員限領
| 來源:國家知識產權局
一、數據介紹

數據名稱:上市公司-195萬全量專利

數據范圍:全國上市公司

數據年份:1998-2021年

樣本數量:195萬+,比CSMAR、CNRDS更全

數據來源:國家知識產權局

數據整理:馬克數據網

更新時間:2022年9月


二、數據指標

股票代碼
上市企業名稱
專利名稱
專利類型
專利申請年份
公開公告年份
授權公告年份
統計截至日期
更新時間

截至2021年12月21日,上市企業專利排名前20

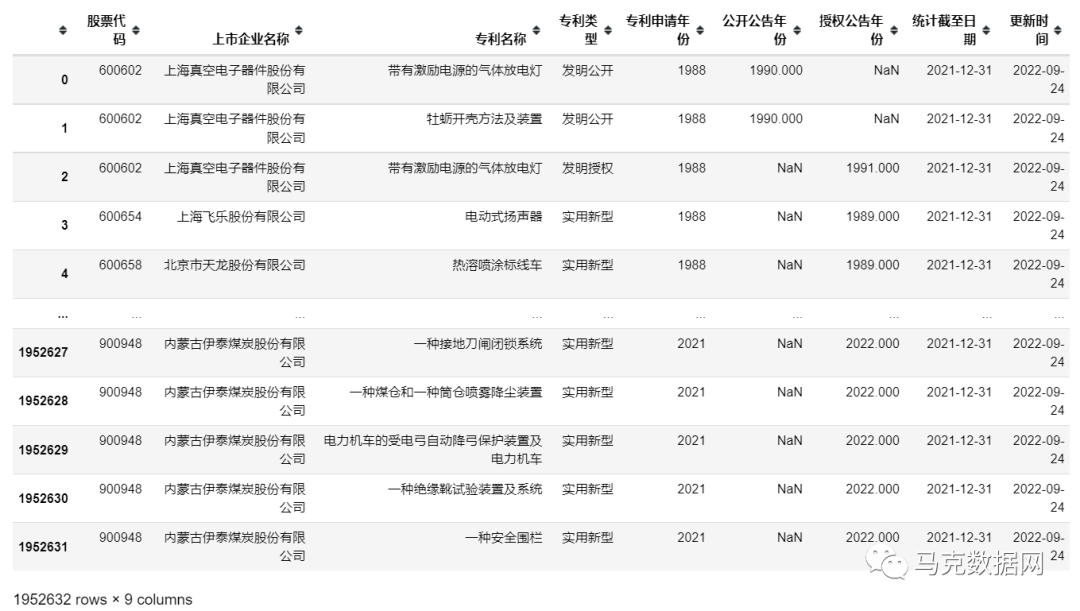
上市公司-195萬全量專利


三、數據概覽

圖:知識產權局-專利檢索

上市公司-195萬全量專利

圖:企業專利結果

上市公司-195萬全量專利


四、獲取數據

注:該數據為社區高級會員-附贈數據

下載鏈接
需要登錄后查看 點擊登錄
aOjBw7
Rhea
huzihao
Cheryl2022
天馬行空
2jtWok
Daniel007
15168876970
馬克數據網
客服一:372574023(QQ)
客服二: macrodatas@163.com
<optgroup id="6eq8g"><div id="6eq8g"></div></optgroup>
<noscript id="6eq8g"><small id="6eq8g"></small></noscript>
<center id="6eq8g"></center>
<center id="6eq8g"></center>
<optgroup id="6eq8g"></optgroup>
<optgroup id="6eq8g"><div id="6eq8g"></div></optgroup>
啦啦啦资源在线观看视频