<optgroup id="6eq8g"><div id="6eq8g"></div></optgroup>
<noscript id="6eq8g"><small id="6eq8g"></small></noscript>
<center id="6eq8g"></center>
<center id="6eq8g"></center>
<optgroup id="6eq8g"></optgroup>
<optgroup id="6eq8g"><div id="6eq8g"></div></optgroup>

北大法寶省市縣-環保處罰數據(2011-2022年)

會員限領
| 來源:北大法寶

?2021年10月,馬克團隊發布北大法寶-環保行政處罰數據

?2022年以來,不少學者利用北大法寶的環保處罰數據發布于核心期刊,如王賢彬(2022)發布于《產業經濟研究》,張家豪(2022)發布于《中國環境科學》與《財經研究》等

?2023年1月,馬克團隊將該數據更新至2022年,希望對大家有所幫助

更新至2022!北大法寶省市縣-環保處罰數據

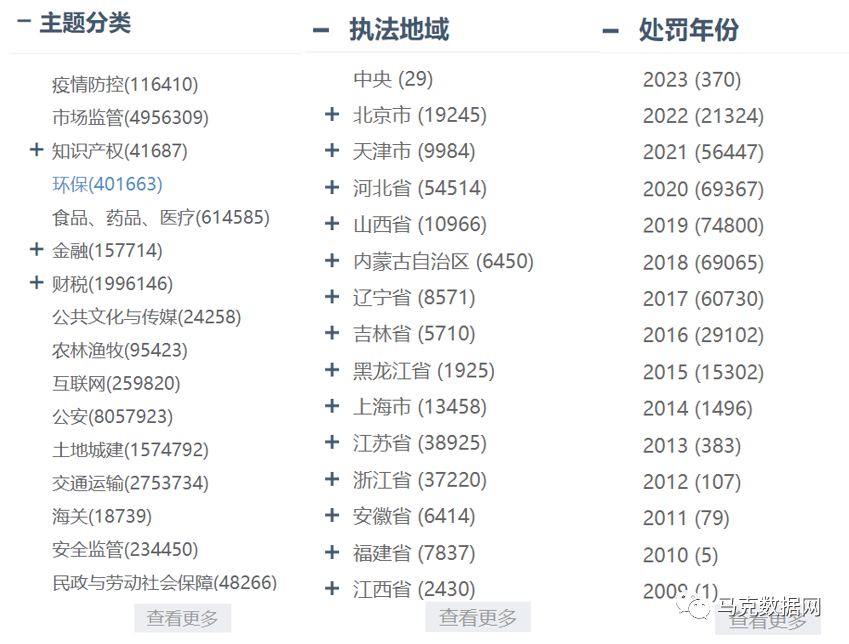
一、數據介紹

數據名稱:北大法寶省市縣-環保行政處罰數據

數據范圍:全國各省份、各城市、各區縣

數據年份:2011-2022年

數據來源:北大法寶

數據整理:馬克數據網

更新時間:2023年1月

二、數據指標

地區代碼
地區名稱
地區等級
所屬省份
所屬城市
處罰年份
主題分類
案件數目

三、數據概覽

更新至2022!北大法寶省市縣-環保處罰數據

更新至2022!北大法寶省市縣-環保處罰數據

四、獲取數據

注:該數據為馬克社區高級會員-附贈數據

下載鏈接
需要登錄后查看 點擊登錄
客服一:372574023(QQ)
客服二: macrodatas@163.com
<optgroup id="6eq8g"><div id="6eq8g"></div></optgroup>
<noscript id="6eq8g"><small id="6eq8g"></small></noscript>
<center id="6eq8g"></center>
<center id="6eq8g"></center>
<optgroup id="6eq8g"></optgroup>
<optgroup id="6eq8g"><div id="6eq8g"></div></optgroup>
啦啦啦资源在线观看视频